製作事例

雷-特式

+雷鞘/セミオーダーモデル

+雷鞘AL/セミオーダーモデル

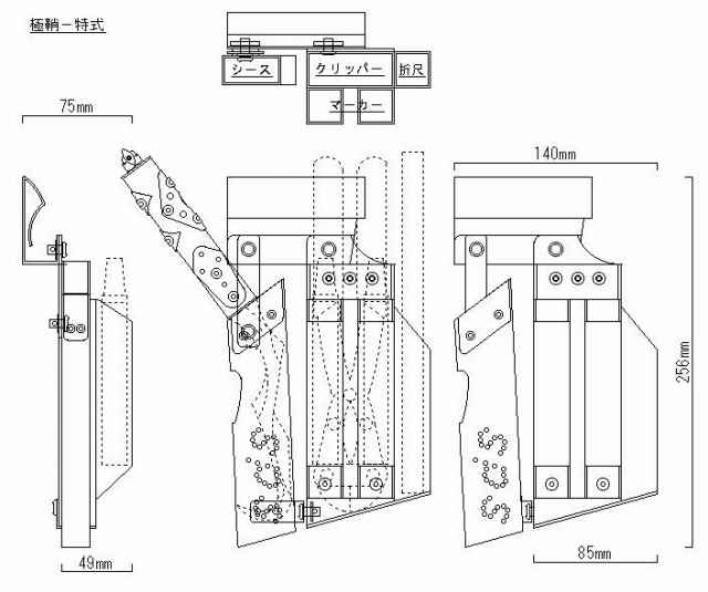
雷-特式+極鞘-特式/フルオーダーモデル

雷-特式+極鞘-特式/フルオーダーモデル

雷-特式+雷鞘AL/フルオーダーモデル

◎雷-オプション仕様(デザイングリップ-B/1型エンドナット/スリングリング)

 

 +雷鞘/セミオーダーモデル

◎雷-オプション仕様(デザイングリップ-B/1型エンドナット)




 

流/製作事例

 

刃/製作事例